来源:能源中国客户端 时间:2025-12-12 09:35
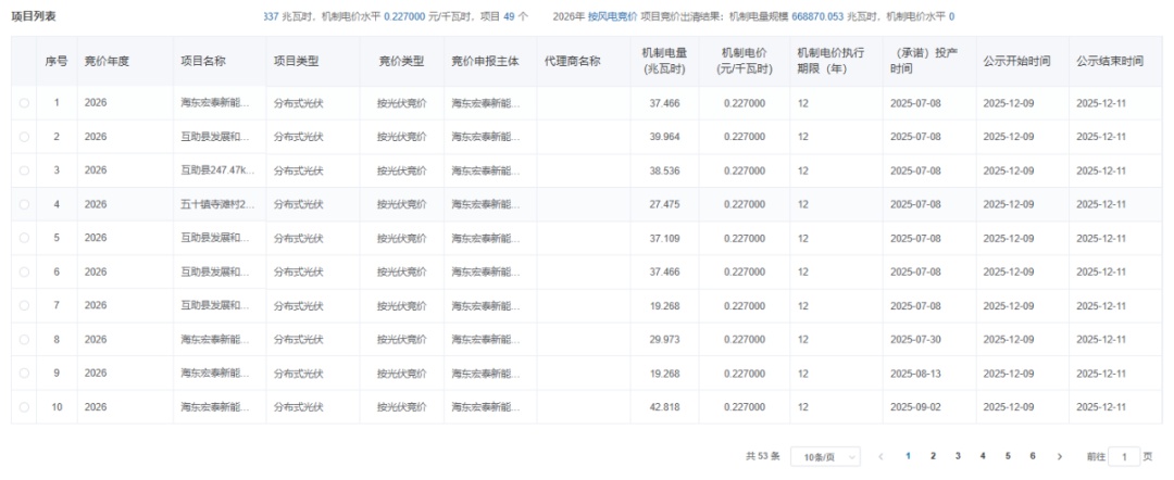
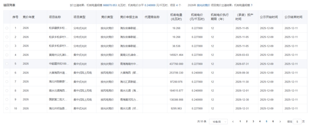
12月9日,青海公示2026年青海省新能源机制电价竞价结果。
光伏机制电价0.227元/度,入围项目49个,包含6个集中式光伏项目,机制电量规模781040.337兆瓦时。
风电机制电价0.24元/度,入围项目4个,机制电量规模668870.053兆瓦时。
对比2025年青海省新能源机制电价竞价上下限来看,光伏上限由0.24/度降至0.2277元/度,下限由0.18元/度降至0.15元/度;风电则不变。
光伏机制电价0.24元/度,入围项目23个,机制电量1124999.999兆瓦时;从入围项目来看,包括16个分布式光伏项目,7个集中式光伏。风电机制电价0.24元/度,入围项目4个,机制电量542999.999兆瓦时。
相关见下:






责任编辑:江蓬新